



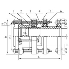
| 序號No. | 名稱Name | 數量Quantity | 材料Material |
| 1 | 本體Body | 1 | QT400-15,Q235A,ZG230-450,20 |
| 2 |
密封圈Gasket
|
1 | NBR |
| 3 | 壓蓋Follower | 1 | QT400-15,Q235A,ZG230-450,20 |
| 4 | 短管法蘭Limited short pipe | 1 | Q234A,20,16Mn |
| 5 | 螺柱bolt | n | q235A,35,1Cr8Ni9Ti |
| 6 | 螺母Nut | 5n | Q235A,20,1Cr8Ni9Ti |
| 公稱通徑 | 管子外徑 | 外形尺寸 | 法蘭連接尺寸 | ||||||||
| 0.6MPa | 1.0MPa | ||||||||||
| L | L1 | D | D1 | n-Th | b | D | D1 | n-Th | b | ||
| 65 | 76 | 400 | 40 | 160 | 130 | 4-M12 | 16 | 185 | 145 | 4-M16 | 20 |
| 80 | 89 | 190 | 150 | 4-M16 | 18 | 200 | 160 | 8-M16 | 22 | ||
| 100 | 114 | 210 | 170 | 220 | 180 | 24 | |||||
| 125 | 140 | 240 | 200 | 8-M16 | 20 | 250 | 210 | 26 | |||
| 150 | 168 | 265 | 225 | 285 | 240 | 8-M20 | |||||
| 200 | 219 | 320 | 280 | 22 | 340 | 295 | 28 | ||||
| 250 | 273 | 375 | 335 | 12-M16 | 24 | 395 | 350 | 12-M20 | |||
| 300 | 325 | 420 | 50 | 440 | 395 | 12-M20 | 24 | 445 | 400 | ||
| 350 | 377 | 490 | 445 | 26 | 505 | 460 | 16-M20 | 30 | |||
| 400 | 426 | 540 | 495 | 16-M20 | 28 | 565 | 515 | 16-M24 | 32 | ||
| 450 | 480 | 595 | 550 | 28 | 615 | 565 | 20-M24 | ||||
| 500 | 530 | 645 | 600 | 20-M20 | 30 | 670 | 620 | 34 | |||
| 600 | 630 | 440 | 755 | 705 | 20-M24 | 30 | 780 | 725 | 20-M27 | 36 | |
| 700 | 720 | 860 | 810 | 24-M24 | 32 | 895 | 840 | 24-M27 | 40 | ||
| 800 | 820 | 600 | 60 | 975 | 920 | 24-M27 | 34 | 1015 | 950 | 24-M30 | 44 |
| 900 | 920 | 1075 | 1020 | 36 | 1115 | 1050 | 28-M30 | 46 | |||
| 1000 | 1020 | 1175 | 1120 | 20-M27 | 1230 | 1160 | 28-M33 | 50 | |||
| 1200 | 1220 | 650 | 1405 | 1340 | 32-M30 | 40 | 1455 | 1380 | 32-M36 | 56 | |
| 1400 | 1420 | 1630 | 1560 | 36-M33 | 44 | 1675 | 1590 | 36-M39 | 62 | ||
| 1600 | 1620 | 670 | 1830 | 1760 | 40-M33 | 48 | 1915 | 1820 | 40-M45 | 68 | |
| 1800 | 1820 | 2045 | 1970 | 44-M36 | 50 | 2115 | 2020 | 44-M45 | 70 | ||
| 2000 | 2020 | 700 | 2265 | 2180 | 48-M39 | 54 | 2325 | 2230 | 48-M45 | 74 | |
| 2200 | 2220 | 730 | 2475 | 2390 | 52-M39 | 60 | 2550 | 2440 | 52-M52 | 80 | |
| 2400 | 2420 | 2685 | 2600 | 56-M39 | 52 | 2760 | 2560 | 56-M52 | 82 | ||
| 2600 | 2620 | 840 | 80 | 2905 | 2810 | 60-M45 | 64 | 2960 | 2850 | 60-M52 | 88 |
| 2800 | 2820 | 3115 | 3020 | 64-M45 | 68 | 3180 | 3070 | 64-M56 | 94 | ||
| 3000 | 3020 | 3315 | 3220 | 68-M45 | 70 | 3405 | 3290 | 68-M27 | 100 | ||
| 3200 | 3220 | 3525 | 3430 | 72-M45 | 76 | ||||||
