


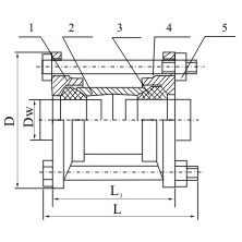
| 序號No. | 名稱Name | 數量Quantity | 材料Material |
| 1 | 壓蓋Cover | 2 | QT400-15,Q235A,ZG230-450,1Cr13,20 |
| 2 | 套管Sleeve | 1 | Q235A,20,16Mn,1Cr8Ni9Ti |
| 3 | 密封圈Gasket | 2 |
NBR,CR,FPM,NR
|
| 4 |
螺栓Bolt
|
n | Q235A,35,1Cr8Ni9Ti |
| 5 | 螺母Nut | n | Q235A,20,1Cr8Ni9Ti |
|
公稱通徑
Nnminal Diameter DN
|
管子外徑
External diameter of pipe Dw
|
外形尺寸Length | N-Th | |||
| 長度Length | D | 0.25-1.6MPa |
2.5-6.4MPa
|
|||
| L1 | L | |||||
| 65 | 76 | 180 | 208 | 155 | 4-M12 | 4-M12 |
| 80 | 89 | 165 | ||||
| 100 | 108 | 195 | ||||
| 124 | 195 | |||||
| 125 | 133 | 225 | ||||
| 125 | 140 | 225 | 4-M16 | |||
| 150 | 159 | 220 | 255 | 4-M16 | 6-M16 | |
| 168 | 255 | |||||
| 200 | 219 | 310 | ||||
| 225 | 245 | 335 | ||||
| 250 | 273 | 223 | 375 | 6-M20 | 8-M20 | |
| 300 | 325 | 220 | 273 | 440 | ||
| 350 | 355 | 490 | 8-M20 | 10-M20 | ||
| 377 | 490 | |||||
| 400 | 406 | 540 | ||||
| 426 | 540 | 10-M20 | 12-M20 | |||
| 450 | 457 | 590 | ||||
| 480 | 590 | |||||
| 500 | 508 | 645 | ||||
| 530 | 645 | |||||
| 600 | 610 | 750 | ||||
| 630 | 750 | |||||
| 700 | 720 | 855 | 12-M20 | 14-M20 | ||
| 800 | 820 | 290 | 355 | 970 | 12-M24 | 16-M24 |
| 900 | 920 | 1070 | 14-M24 | 18-M24 | ||
| 1000 | 1020 | 1170 | ||||
| 1200 | 1220 | 1405 | 16-M24 | 20-M24 | ||
| 1400 | 1420 | 377 | 1590 | 18-M24 | 28-M27 | |
| 1500 | 1520 | 1690 | ||||
| 1600 | 1620 | 1795 | 20-M27 | 28-M27 | ||
| 1800 | 1820 | 2000 | 22-M27 | 30-M30 | ||
| 2000 | 2020 | 2200 | 24-M27 | 32-M30 | ||
| 2200 | 2220 | 400 | 2420 | 26-M30 | ||
| 2400 | 2420 | 2635 | 28-M30 | |||
| 2600 | 2620 | 400 | 2835 | 30-M30 | ||
| 2800 | 2820 | 3030 | 32-M33 | |||
| 3000 | 3020 | 3240 | 34-M33 | |||
| 3200 | 3220 | 3440 | 36-M33 | |||
| 3400 | 3420 | 490 | 3640 | 38-M33 | ||
| 3600 | 3620 | 3860 | 40-M33 | |||
| 3800 | 3820 | 500 | 4080 | 40-M36 | ||
| 4000 | 4020 | 4300 | 42-M36 | |||
| 注:本尺寸符合GB/T12465-2002標準 Note:The size meets standard GB/T12465-2002. | ||||||
